תגובה: חידה: באיזו דרך יזרום השמן ומה יהיה הלחץ ביציאה מהמשאבה?
הסכימה הזו באמת הצליחה לבלבל אותי.
בכל המערכות שאני נתקלתי בהן, השסתום הזה קיים רק כשסתום פריקה/שסתום ביטחון.
ז"א שהתפקיד שלו לשחרר את הלחץ העודף במקרה של תקלה במערכת .
הלחץ ביציאה שלו תמיד מבחינתי היה בגדר none issue או בניסוח האינטרנטי WTFC .
אבל יפה,תן עוד משהו...
טל.
תגובה: חידה: באיזו דרך יזרום השמן ומה יהיה הלחץ ביציאה מהמשאבה?
השאלה היתה קלה אם היה ברור איך בדיוק פועל כל שסתום, כלומר האם הוא נפתח בערך הנקוב ולא מפיל את הלחץ או שהוא מפיל את הלחץ בערך הנקוב ויזרים כל עוד הלחץ במוצא גדול מאפס (מה שמשתמע מהתשובות).
תגובה: חידה: באיזו דרך יזרום השמן ומה יהיה הלחץ ביציאה מהמשאבה?
ניר הבהרתי את זה בתגובה הקודמת. השס' יעביר את השמן בתנאי שהפרש הלחצים בין הכניסה למוצא יהיה גדול מהערך הנקוב עליו וכן הוא יפיל את הלחץ בערך שנקוב עליו.
אני מוצא לנכון להביא כאן את גירסת המדריך שטוען שהשמן יזרום מהענף העליון מכיוון שהשסתום הראשון בו הוא בעל הערך הנמוך מבין השסתומים הראשונים בשאר הענפים. השמן יעדיף לזרום בשסתום שקל לו יותר לעבור וזה למרות שבסה"כ זה יגרום ללחץ ביציאה מהמשאבה להיות גבוה יותר מאשר אם הוא היה זורם כפי שנמרוד הציע, כשהוא מתחיל בענף האמצעי ומסיים בענף העליון.
תגובה: חידה: באיזו דרך יזרום השמן ומה יהיה הלחץ ביציאה מהמשאבה?
חנן,
החידה שלך היתה, באיזו דרך יזרום השמן ומה יהיה הלחץ ביציאה מהמשאבה?
ולזה אין תשובה בלי לדעת איזה לחץ המשאבה מיצרת, נגיד שהמשאבה מייצרת 15 PSI, סליחה, BAR
אז רק השסתום העליון הראשון יעביר נוזל הלאה (ולשום מקום)
אם זה מעל ל20, כול ה3 הראשונים יעבירו נוזל הלאה, בלחץ ונפח(ווליום) לא מוגדר, כמובן, שבגלל שכול השסתומים מביאים למבוא סתום, לחץ המשאבה יהיה בדיוק,,,,,הלחץ שהיא בנויה לספק
אגב, שים לב לתאור הפעולה של הרכיב, הוא אינו תלוי בלחץ בצד השני זה סוג של SAFETY VALVE, או PRV ההבדל העיקרי, הוא בנוי להעביר נוזל או גז הלאה דרך צנרת במקום לשחרר ישירות ל WASTE, כיור רצפה לדוגמה. (ההבדל הוא בצורת הבניה של ה"רכיב", בPRV תמיד תמצא 'WIP HOLE, חור איורור למקרה שהיציאה סתומה, ושלנוזל או גז יהיה דרך להשתחרר, בSQV אין חור, הנוזל או גז חייב לצאת דרך הצנרת בלבד)
לדעתי המדריך שלך טועה.
תגובה: חידה: באיזו דרך יזרום השמן ומה יהיה הלחץ ביציאה מהמשאבה?
המשאבה, לצורך העניין, בנויה לספק לחץ אינסופי. כמובן שזה לא יהיה הלחץ ביציאה ממנה אלא הוא יהיה תלוי בהתנגדות הענפים.
המוצא הוא לא סגור כפי שרשמת אלא זה סמל ליציאה חופשית למיכל ההידראולי.
ע"פ מה שהוסבר לנו וגם ע"פ המעבדות המעשיות שעשינו השסתומים עובדים ע"פ הפרש הלחצים בין הכניסה למוצא. אם לחץ המוצא יהיה גבוה ולא יווצר הפרש הלחצים המספק בין הכניסה למוצא השסתום לא יפתח, ולא, בשסתומים שיש לנו במעבדה אין חור אוורור. אני מבין שאתה מכיר שסתומים אחרים אבל אם אתה רוצה לעזור בעניין החידה אז תצטרך לקחת את הדברים שלי AS IS.
תגובה: חידה: באיזו דרך יזרום השמן ומה יהיה הלחץ ביציאה מהמשאבה?
צתער...
הסבירו לך לא נכון.
ואם תרצה תחמושת, אשמח לספק לך., לא חסר חומר טכני על השסתום בדיאגרמה, והוא לא עובד על הפרש לחצים,
באחריות ומנסיון אישי-מקצועי.
אני אולי אהבל ולא מפותח, אבל בתחום המסויים הזה......יש מבין..
וברוח מהפכנית: Challenge authority!
תגובה: חידה: באיזו דרך יזרום השמן ומה יהיה הלחץ ביציאה מהמשאבה?
אני מחפש ארוחה על חשבון המדריך, לא תחמושת, ובינתיים התגובה של נמרוד מקדמת אותי מהר יותר לשם :rolleyes:
1 קבצים מצורפים
תגובה: חידה: באיזו דרך יזרום השמן ומה יהיה הלחץ ביציאה מהמשאבה?
באיזה מתח יקוצר המצבר לאדמה ?
2 קבצים מצורפים
תגובה: חידה: באיזו דרך יזרום השמן ומה יהיה הלחץ ביציאה מהמשאבה?
יש כאן שני דיונים...
אם אני מבין נכון חנן, אין ויכוח בינך לבין המדריך על סוג השסתום, או במילים אחרים על הכללים של החידה - אלא על הפתרון. האם הוא מסכים ומבין את פעולת השסתומים ככזאת: " אם הפרש הלחצים בין היציאה לכניסה של הסתום קטן מהערך הנקוב, השסתום סגור. אם הפרש הלחצים גדול, השסתום פתוח, ומפל הלחץ דרך השסתום הוא הערך הנקוב". אזי אני חושב שהתשובה שכתבתי בהתחלה היא מדויקת. כדי להבין למה שסתום פורק לחץ עובד ככה, צריך להסתכל על המבנה שלו. למה מפל הלחץ? כי השסתום הוא לא משהו בינארי - כשהוא סגור הוא סגור, אבל כשהוא פתוח, הוא לא נעלם - מה שנפתח זה מעבר צר מאד, חריץ, זרזיף, שגודלו תלוי ישירות בהפרש הלחצים בין שני הצדדים של הכדור/בוכנה.
קובץ מצורף 46244
עם ג'ו יש כאן דיון אחר - מהו בדיוק השסתום שמסומן בשאלה של חנן. בזה אני לא מומחה, אבל מתוך חיפוש בגוגל אימג' - נראה לי שהסמל בחידה של חנן זה relief valve בסיסי, כמו בציור לעיל, או בואריציה מוכרת לכולנו - פקק של רדיאטור.
קובץ מצורף 46245
תגובה: חידה: באיזו דרך יזרום השמן ומה יהיה הלחץ ביציאה מהמשאבה?
תגובה: חידה: באיזו דרך יזרום השמן ומה יהיה הלחץ ביציאה מהמשאבה?
אכן אין שום ספק ג'ו. במקרא שאתה צירפת, אותו הציור מופיע פעמיים, פעם תחת השם relief ופעם תחת השם sequence ולפי ההסבר אכן מדובר על אותו שסתום עם - עם ההבדל שכשהיציאה היא ללחץ אטמוספרי - למיכל עודפים - הוא מכונה relief וכשהיציאה היא להמשך כלשהו הוא מכונה sequence valve. מבחינה הידראולית, מדובר בשני המקרים על אותו הדבר.
לפי הקישור השני שלך ג'ו, בsequence valve יש חיבור שלישי, חיבור למיכל עודפים שנפתח כשהקפיץ מגיע לקצה המהלך - כשהלחץ ביציאה משתווה ללחץ בכניסה. זה חבר בציורים בחידה של חנן.
לחנן - תנסה להסביר לו שצריך ללכת הפוך - הלחץ בסוף הוא אפס - עכשיו מתקדמים שמאלה - הלחץ הוא בהגדרה 20 לפני כל השסתומים - מתקדמים הלאה (במעלה הזרם) לשסתומים הבאים. הלחץ בכל מסעף חייב להיות שווה, והוא שווה ללחץ שהשסתום שבמורד הזרם שלו הכי קטן - הגדולים יותר לא יפתחו - וכן הלאה, עד המשאבה.
עוד סיבה שאולי מישהו כאן מבולבל - זוהי מערכת שיש בה זרימה! היא איננה סטטית, שמן משפריץ מהקצה, ולכן החוקיות הפשוטה והמוכרת שאומרת שיש שוויון לחצים לא משנה מה גודל המעברים, לא רלוונטית. יש זרימה, יש ספיקה, יש איבודי לחץ בכל שסתום כי הוא מעבר צר מאד ויש שפריץ של שמן לתוך מיכל העודפים, והמשאבה תתיצב על הלחץ המינימלי האפשרי מבחינתה - 50. אם היא לא מסוגלת לתת 50 - המערכת לא תיפתח.
תגובה: חידה: באיזו דרך יזרום השמן ומה יהיה הלחץ ביציאה מהמשאבה?
המבולבלים התבלבלו יותר :-)
לאחר שהבנו באיזה שסתום מדובר
אני מבין שמפל הלחץ (הנקוב עליו) על השסתום הוא הפסד האנרגיה בלחיצה על הקפיץ.
כל עיניין של מפל לחץ על השסתום בשל מעבר קטן/חריר קשור באופן ישיר אך ורק לספיקה אותה רוצים להעביר דרכו,והוא בנוסף לנקוב עליו.
מכאן שאין להגדיר את היציאה כהשפרצה אלא כדליפה ,אם מדברים על מינימום של 50 באר.
תהרגו אותי אבל ככה אני מבין את זה.
תגובה: חידה: באיזו דרך יזרום השמן ומה יהיה הלחץ ביציאה מהמשאבה?
כדאי לנסות לפתור את השאלה הזאת לפי הנוסחה המפורסמת
4 מיצי יש 8 ציצי = אבל אין חלב
איציק
תגובה: חידה: באיזו דרך יזרום השמן ומה יהיה הלחץ ביציאה מהמשאבה?
בתגובה #28 לא הוספתי נגד בכוונה,פשוט חיכיתי שמישהו יענה 50V ,והתשובה שלי היתה שמתח המצבר ייפול בגלל הקצר.........
או באנאלוגיה למקרה שלנו-לחץ המשאבה ייפול בגלל שאין התנגדות נוספת לבניית לחץ נוסף. (עד שלב מסויים שאף אחד לא יכול לשים את האצבע על נתון מדוייק)
או באנאלוגיה אחרת- 4 מיצי יש 8 ציצי=אבל אין חלב
או שאני מבולבל
טל
תגובה: חידה: באיזו דרך יזרום השמן ומה יהיה הלחץ ביציאה מהמשאבה?
שים באנלוגיה שלך מקור זרם במקום מקור מתח ואז תראה איך זה מסתדר לך.
רצוי להיזהר מאנלוגיות. לפעמים מתחילים מנקודת פתיחה שמשהו דומה למשהו אחר, בונים על זה הרים וגבעות, ואף אחד לא זוכר לבדוק את אמיתות נקודת הפתיחה. רבנים מתים על זה.
תגובה: חידה: באיזו דרך יזרום השמן ומה יהיה הלחץ ביציאה מהמשאבה?
שים משאבת ספיקה אין סופית בלחץ מקסימלי(נגיד 1 באר) ,בגודל של מטר על מטר,ותנסה לפתוח שסתום 20 באר בגודל 1ס"מ על 1ס"מ.
על אותו מטבע
אבל עזוב שטויות,אתה צודק בגישה
חנן,בהנחה שיש לנו משאבת שמן גם עם יכולות ספיקה גבוהות.
והגענו למחסום ה 50 באר
אנו נמצאים לפני ה"בור" של איבוד לחץ תוך כדי מגמת העלאת הספיקה כדי ליצור לחץ נוסף.....
אפשר לדעתך להגיע למסכנה ,ללא נתונים של התנגדות הרכיבים לזרימה, מה יהיה הלחץ המינימלי של המשאבה בזרימת המערכת למיכל ללא פימפומים.
אם לא מספקים בשאלה המקורית נתונים אלה, אני יוצא מנקודת הנחה שברגע ששסתום ניפרץ היתנגדותו לזרימה "0".
ומכאן שאין לי תשובה חוץ מ"מעל 50 באר" ורוב הסיכויים שדרך הענפים שנימרוד הצביע.
טל
תגובה: חידה: באיזו דרך יזרום השמן ומה יהיה הלחץ ביציאה מהמשאבה?
רק תשאל.
קח בחשבון משאבה שמסוגלת לחץ אינסופי וספיקה מספיק קטנה כך שההתנגדות לזרימה בצינורות ומבחינת קוטר המעברים בשסתומים תהיה אפסית, לצורך העניין.
לגבי לחץ השמן לאחר פריצת השסתום, כתבתי שנפילת הלחץ על השסתום היא כערך הנקוב עליו.
נמרוד, גם אני חישבתי באותה צורה כמוך, מהסוף להתחלה, והתוצאה שקיבלתי היא כשלך. כמובן שהמדריך מודע לדרך החישוב שעשיתי וזה עלה באופן טבעי במהלך הדיון.
תגובה: חידה: באיזו דרך יזרום השמן ומה יהיה הלחץ ביציאה מהמשאבה?
כנראה שאיציק קלט את זה מראש ..........
1 קבצים מצורפים
תגובה: חידה: באיזו דרך יזרום השמן ומה יהיה הלחץ ביציאה מהמשאבה?
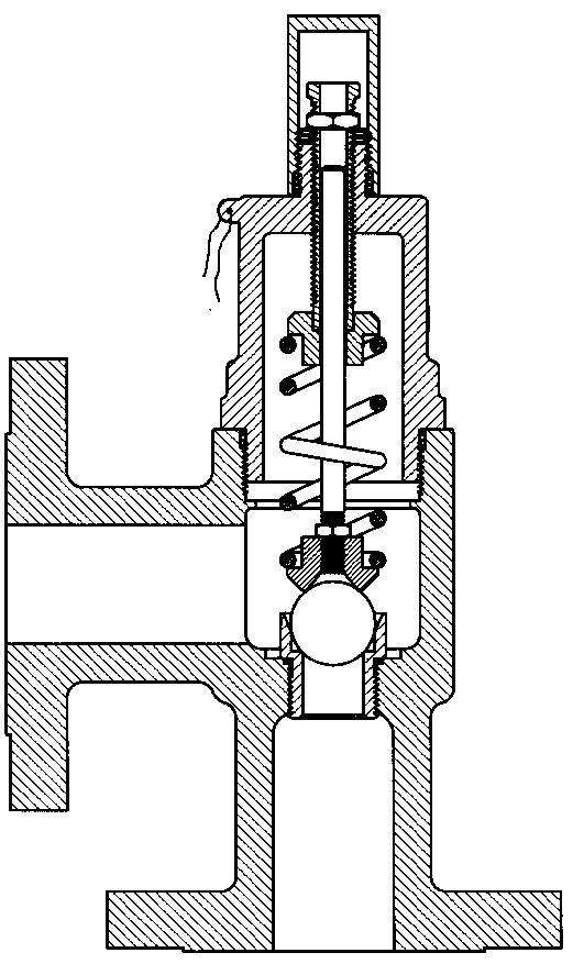
טל, במערכת אין רכיבים מלבד שסתומי הפריקה הבסיסיים. ומפל הלחץ עליהם ידוע, וקבוע. אולי צריך לנסות שוב להסביר איך זה עובד - מצאתי תמונה קצת יותר ברורה של שסתום פורק לחץ קלאסי - הכניסה מלמטה, היציאה בצד.
קובץ מצורף 46285
השסתום הוא normaly closed. הקפיץ מפעיל על הכדור כוח ששווה ללחץ הפתיחה של השסתום, כפול שטח הפתח העגול (orifice) שהכדור סותם. בצד היציאה יש לחץ אפס (או כל לחץ אחר - זה לא משנה, השסתום רואה הפרש לחצים בין שני הצדדים של הכדור).
עכשיו מתחילים לסובב את המשאבה. היא מפרפרת את הנוזל, מעלה את הלחץ בצד הכניסה של השסתום - האנרגיה של המשאבה אגב לא נאגרת בקפיץ, בכלל - היא הופכת לחום. מערכות הידראוליות מתחממות!
כשהלחץ מגיע לערך שאליו כיוונו את השסתום (או לערך גבוה יותר, אם בצד היציאה יש לחץ גבוה מאפס) המכפלה שלו בשטח החתך של הפתח משתווהלכוח שמפעיל הקפיץ, ועוד טיפל'ה לחץ - הכדור מתרומם מעט מעל האוריפיס, ויש זרימה. המעבר הוא צר, והוא בדיוק מה שמפיל את הלחץ, ובדיוק בהפרש הלחצים הנקוב.
עכשיו הקטע המעניין - מה קורה כשממשיכים להאיץ את המשאבה, לתת עוד אנרגיה? האם הכדור מתרומם עוד? התשובה היא - לא! הספיקה גדלה, מהירות הזרימה גדלה, הזרזיף הופך לשפריץ, אבל הכדור לא מתרומם, המעבר נשאר זעיר. כדי להבין למה, נדמיין שהכדור כן מתרומם - עד שהוא כולו בתא העליון, נניח שהוא קיבל איזו מכת פטיש, הלם של לחץ גבוה. מה יקרה עכשיו? באמת יהיה שוויון לחצים, כמו שרבים כאן חושבים בצורה אינטואיטיבית - אבל אם אותו הלחץ עוטף את הכדור מכל הכיוונים, אז הכוח היחיד שהוא מרגיש זה הכוח של הקפיץ, שמחזיר אותו מיידית למקום וסוגר את המעבר! ולכן, גם אם המשאבה תמשיך להגדיל את הספיקה, הכדור ישאר מרחף, נוגע-לא-נוגע במרחק קטן מאד מעל האוריפיס, והשסתום ישמור על הפרש הלחצים הנקוב.
מי שחושב שיש כאן דינמיקה, שהכדור בעצם עולה ויורד - צודק לגמרי! אם רוצים להכנס עמוק יותר, אז בהחלט יש כאן רטיטה של הכדור והקפיץ, ובהחלט יכולות להיות בעיות של תדרים עצמיים. נתקלתי בדברים דומים בפיתוח של שסתומים זעירים לצרכים רפואיים.
יש כמובן תחום לחצים וספיקות ששסתום ספציפי נועד לעבוד בהם, והכל מדויק ברמה של כמה אחוזים, ויש היסטרזיס והפרש בין לחץ הפתיחה ללחץ הסגירה , ויש גם שסתומים מתוחכמים יותר שעושים עוד דברים. אבל כאן נשאלה שאלה עקרונית, והתשובה שלה די ברורה. המשאבה תפתח לחץ, השסתומים יפתחו אחד אחד ככל שהלחץ יעלה - בוודאי ששסתום ה10 העליון יהיה הראשון שיפתח, אבל השאלה היא באיזה לחץ המערכת כולה תפתח, וזה יקרה ב50 (או ב50 וטיפ-טיפה אם תתעקש טל). מאותו רגע, כל תוספת אנרגיה למשאבה תגדיל את הספיקה שפורצת דרך המסלול הראשון שנפתח, אבל שאר המסלולים, שהסכום שלהם הוא יותר מ50, לא יפתחו, והלחץ יתייצב על 50.
ואיך יודעים שזה עובד? כי זה עובד, במכסה הרדיאטור של כל מכונית, כל יום, בדודי המים החמים בבית של כל אחד, בארובות של בתי הזיקוק בחיפה כל פעם שרואים להבה של יתר לחץ גז.
תגובה: חידה: באיזו דרך יזרום השמן ומה יהיה הלחץ ביציאה מהמשאבה?