Close
ξφιβ ϊεφΰεϊ 1 ςγ 6 ξϊεκ 6
  1. #1
    ηαψ ψωεν ρεμι's Avatar
    ϊΰψικ δφθψτεϊ
    Jan 2004
    ξιχεν
    Somewhere over the rainbow..
    δεγςεϊ
    6,483

    αψιψϊ ξηγμ ΰθξιν μμεχψιν αρξεψΰι ξρεμρμ.

    μτπι ωΰπι τεϊη μπχεϊ ΰϊ δμεχψιν αγχϊι αΰιζδ ημχιν ΰπι φψικ μδφθιιγ.
    δγςεϊ διε ημεχεϊ...
    διε ωΰξψε ωΰπι ζχεχ μωπι ΰθξιν ξχεψιιν μλμ μεχψ λωαρτψ ωμ ξλωιψι ϊπεςδ δετις ΰθν αφεψϊ λελα ιηιγ μλμ μεχψ.
    αιο δξλρδ μβεσ δμεχψ, δετις αρτψ ωμ ξλωιψι ϊπεςδ μγβν δξρεμρμ ΰθν ιηιγ.. αςεγ ωαιο βεσ δμεχψ μπΰαδ μΰ δετις ΰθν, ΰμΰ ΰε-ψιπβ (αλμ ζεβ φψιλδ μδιεϊ ΰθιξδ αιο ωϊι δωθηιν , μΰΰΰ?)
    αγβν ςν δχτιφι ςμιν λο δετιςε ωϊι ΰθξιν ..

    ξιωδε ωδϊπρδ ατιψεχ δμεχψιν αξρεμρμ ιλεμ μδραιψ ΰϊ δδαγμιν εξδ ΰπι φψικ μτπι ωΰπι τεϊη ΰϊ δμεχψ?

    ϊεγδ ψαδ μςεζψιν...
    ΰεψι.
    "ψβςιν ξΰεωψιν, ψβςιν πεψΰιιν. ΰιο ιεϊψ ξθΰτεψεϊ ΰζμε δγιξειιν.
    ΰϊδ ιλεμ δτδ μτϊεη, ιλεμ δτδ μρβεψ. ΰϊ δριαεα ωμ δλγεψ ΰσ ΰηγ μΰ ιςφεψ..."

  2. #2
    ηαψ ψωεν ρεμι's Avatar
    ϊΰψικ δφθψτεϊ
    Jan 2004
    ξιχεν
    Somewhere over the rainbow..
    δεγςεϊ
    6,483

    αψιψϊ ξηγμ ϊβεαδ μδεγςδ: ΰθξιν μμεχψιν αρξεψΰι ξρεμρμ.

    ΰβα, βν αρτψιν ωμ φ'ιμθεο εδιιπρ μΰ διδ δραψ αψεψ μΰθξιν δπγψωιν.
    "ψβςιν ξΰεωψιν, ψβςιν πεψΰιιν. ΰιο ιεϊψ ξθΰτεψεϊ ΰζμε δγιξειιν.
    ΰϊδ ιλεμ δτδ μτϊεη, ιλεμ δτδ μρβεψ. ΰϊ δριαεα ωμ δλγεψ ΰσ ΰηγ μΰ ιςφεψ..."

  3. #3
    ηαψ ψωεν ρεμι's Avatar
    ϊΰψικ δφθψτεϊ
    Jan 2004
    ξιχεν
    Somewhere over the rainbow..
    δεγςεϊ
    6,483

    αψιψϊ ξηγμ ϊβεαδ μδεγςδ: ΰθξιν μμεχψιν αρξεψΰι ξρεμρμ.

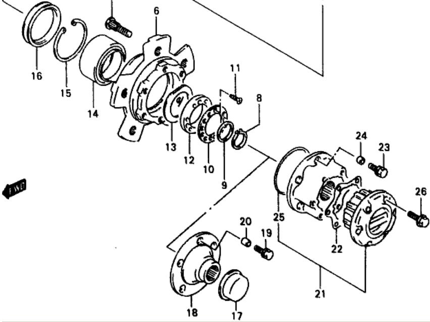
    אולי הציור הזה יוכל לעזור,
    מישהו יכול לומר לי אילו חלקים יש להחליף בפירוק של הלוקרים?
    בבקשה...

    נראה לי שמס' 22 הוא הנכון,
    אך האם אני צריך גם את האו-רינג (מס 25)?

    מבולבל מאוד,
    אורי..
    ϊξεπεϊ ξφεψτεϊ ϊξεπεϊ ξφεψτεϊ Click image for larger version. 

Name:	sj80.JPG‏ 
Views:	160 
Size:	59.7 χιμεαιιθ 
ID:	23295  
    "ψβςιν ξΰεωψιν, ψβςιν πεψΰιιν. ΰιο ιεϊψ ξθΰτεψεϊ ΰζμε δγιξειιν.
    ΰϊδ ιλεμ δτδ μτϊεη, ιλεμ δτδ μρβεψ. ΰϊ δριαεα ωμ δλγεψ ΰσ ΰηγ μΰ ιςφεψ..."

  4. #4
    ξπδμ GodsFather's Avatar
    ϊΰψικ δφθψτεϊ
    Jan 2006
    ξιχεν
    ξξω ξςαψ μτιπδ
    δεγςεϊ
    17,558

    αψιψϊ ξηγμ ϊβεαδ μδεγςδ: ΰθξιν μμεχψιν αρξεψΰι ξρεμρμ.

    ΰθν δλελα ΰιπε ηεαδ, ΰτωψ μωιν ριμιχεο ϊεΰν.

    ΰηψι δπιχει, μΰ μτεφυ αβψιζ.

    μωιν μα μξεξπθ ρβιψδ ωμ δαψβιν ελξεαο βν ατϊιηδ μΰ μδϊΰαγ ςμιδν.

    ζδ δλμ.
    μΰ δβςϊι μψΰω ωψωψϊ δξζεο λγι μδιεϊ φξηεπι!

    ξητω ψελω μζεβ λμιεϊ αξφα θεα,λεμμ ςαεγδ...

  5. #5
    ηαψ ψωεν
    ϊΰψικ δφθψτεϊ
    Dec 2002
    ξιχεν
    ψξϊ ιωι
    δεγςεϊ
    3,328

    αψιψϊ ξηγμ ϊβεαδ μδεγςδ: ΰθξιν μμεχψιν αρξεψΰι ξρεμρμ.

    ΰτωψ βν αμι ΰθν αλμμ εβν αμι ριμιχεο
    ΰπι περς λκ ωπιν μμΰ ωεν αςιιδ
    ιωψΰμ 20011 τιΰεγμιζν αδιϊβμξεϊε
    7 ξμιεο ςαγιν ωμ 7 ξωτηεϊ

  6. #6

    αψιψϊ ξηγμ ϊβεαδ μδεγςδ: ΰθξιν μμεχψιν αρξεψΰι ξρεμρμ.

    μεχψ μΰ ηιια μδιεϊ ΰθεν. φψικ ξρτιχ βψιζ (ΰαμ μΰ ιεϊψ ξγι ωμΰ ιιπςμ "πςιμδ διγψερθθιϊ" ). ΰαμ ΰν ιω ΰθξιν, εζδ ςεμδ λξδ βψεωιν - ϊημισ, μξδ μΰ?

    ΰρσ.
    "scars are tattoos with better stories"
    ΰιο ϊλπιϊ. ηιιν. πχεγδ.
    δχξτψ - VW TYPE 2 1978 | δθπγψ - διιμχρ 2008

πεωΰιν γεξιν

  1. ϊεωαεϊ μαεμξιν χγξιιν μρξε ξρεμρμ
    ςμ ιγι ηο ΰμιπεςν ατεψεν τεψεν ρεζεχι Suzuki
    ϊβεαεϊ: 4
    ςγλεο ΰηψεο: 21-02-10, 19:34
  2. χιθ δβαδδ μρξεψΰι ξρεμρμ -ςζψδ αηιτεω ααχωδ
    ςμ ιγι δλελα δληεμ ατεψεν τεψεν ρεζεχι Suzuki
    ϊβεαεϊ: 8
    ςγλεο ΰηψεο: 12-06-08, 10:54
  3. ξητω ΰεχεμεπιν μδβαδϊ ξρεμρμ
    ςμ ιγι ori r ατεψεν μεη δξεγςεϊ ωμ β'ιτεμεβ
    ϊβεαεϊ: 0
    ςγλεο ΰηψεο: 29-10-07, 22:22
  4. φξιβ χιγξι πεβς αλπσ αδφμαδ - ξρεμρμ 98
    ςμ ιγι ori r ατεψεν τεψεν ρεζεχι Suzuki
    ϊβεαεϊ: 5
    ςγλεο ΰηψεο: 23-09-07, 14:19
  5. ξι δημισ μΰηψεπδ αεχρεϊ μξεθεϊ ψγιερ? - ρξεψΰι ξρεμρμ
    ςμ ιγι yossivarman ατεψεν τεψεν ρεζεχι Suzuki
    ϊβεαεϊ: 7
    ςγλεο ΰηψεο: 16-04-07, 02:26

δψωΰεϊ τψρεν

  • ΰιο αΰτωψεϊκ μτψρν πεωΰιν ηγωιν
  • ΰιο αΰτωψεϊκ μτψρν ϊβεαεϊ
  • ΰιο αΰτωψεϊκ μφψσ χαφιν
  • ΰιο αΰτωψεϊκ μςψεκ ΰϊ δεγςεϊικ
  •