גזי הפליטה, התוצרים של תהליכי הבעירה שבלב המנוע, נמדדים על ידי מכשור 4 או 5 גזים. כלי זה שרובנו נתקלים בו בטסט בלבד בתקווה שלא יכשיל אותנו, הוא כלי דיאגנוסטי במעלה ראשונה שחשוב לא רק כדי להקטין את זיהום האויר אלא גם להביא את צריכת הדלק וביצועי כל מנוע למקסימום. הכתבה הזאת היא מבוא כללי לנושא. אני מצטער מראש על אי-דיוקים ועיגולי פינות פה ושם לטובת הפשטות. מושגים בסיסיים בכימיה
מבוא לכימיה של הבעירה מנוע הבעירה הפנימית שואב אוויר מהאטמוספרה ודלק נוזלי. הדלק נקרא פחמימן או מימן פחמני HC כי הוא מורכב מהיסודות פחמן C ומימן H, בעיקר. בתהליך השריפה של מולקולות הפחמימנים משתחררת אנרגיה רבה האצורה בהן. מסך כל האנרגיה אשר משתחררת בתהליך, סדר גודל של 20-30% משמשת להנעת הרכב. כל שאר האנרגיה הולכת לאיבוד כחום הנפלט לסביבה. היחס בין האנרגיה שמנוצלת לבין המבוזבזת הוא מה שמכונה נצילות בשפת המדע ויעילות בשפת היום-יום. המנועים המודרניים יעילים הרבה יותר בהשוואה למנועים משנות משנות ה70 . בתקופה ההיא התחילו מהנדסי הרכב להידרש לנושא של בקרות פליטת המזהמים. באופן כללי, ככל שהמנוע יותר יעיל הוא פולט פחות זיהום. למרות זאת, ככל שהרכבים המודרניים יעילים היום, תקנות זיהום האוויר ממשיכות להחמיר. הטכנולוגיה שנדרשה כדי לעמוד בתקנים המחמירים הובילה למערכות הבקרה בחוג סגור שכה נפוצות כיום. יחד עם יתרונות הטכנולוגיה הגיעה גם עלייה בדרישות התחזוקה, וכאשר מערכות שבקו – אבחון ותיקון. תהליך הבעירה על מנת להבין איך לאבחן ולתקן תקלות במערכת, יש תחילה להבין איך המערכת פועלת. במקרה שלנו, איך עובדת הכימיה של תהליך הבעירה המתרחש במנוע. הדלק הנשרף במנוע מכיל כימיקלים רבים, אולם הוא מורכב בעיקר משרשראות ארוכות של פחמן מימני HC. פחמן מימני הוא כימיקל המורכב מאטומים של מימן ואטומים של פחמן המחוברים יחד. ישנם סוגים רבים של פחמן-מימני בדלק, הנבדלים זה מזה במספר האטומים ובצורת החיבור שלהם. למעשה ההבדל בין סוגי הדלקים השונים (בנזין, נפט, קרוסין, סולר, מזוט...) הוא באורך שרשראות הפחמימנים האופייניות. בתוך המנוע, הפחמן-המימני שבדלק לא יבער אם הוא לא יבוא במגע עם אוויר. זוהי הנקודה בה הכימיה של תהליך הבעירה מתחילה. אוויר מורכב בערך מ – 21% חמצן, 78% חנקן וכמויות קטנות של גזים אחרים. בבעירה מושלמת (Perfect combustion) המימן הפחמני שבדלק מגיב עם החמצן שבאטמוספרה במהלך תהליך הבעירה, ויוצר אדי מים (H2O) ופחמן דו-חמצני (CO2), שיוצרים את התהליך הרצוי של חום ולחץ בחלל הצילינדר. לרוע המזל, בתנאי עבודת מנוע מסוימים, החנקן מגיע יחד עם החמצן ויוצר תחמוצות חנקן שונות – מזהם אוויר קטלני.
היחס בין מספר פרודות הדלק ובין מספר פרודות האוויר משחק תפקיד חשוב בקביעת יעילות הבעירה. יחס האוויר/דלק האידיאלי מבחינת זיהום אוויר, צריכת דלק (זה היחס האידיאלי אך לא האופטימאלי מבחינת צריכת דלק) וביצועי מנוע טובים הוא בסביבות 1:14.7 (יחס בין מסת האויר למסת הדלק) . יחס זה מכונה יחס סטוכיומטרי, והוא היחס אליו שואפת להגיע מערכת הבקרה של המנוע. ביחס תערובת עשיר (יותר דלק) צריכת הדלק תפגע והזיהום יגדל. ביחס תערובת עני (יותר מדי אויר) ייפגעו הביצועים ויגדל הזיהום. מחזור הבעירה במנוע 4 פעימות במהלך פעימת היניקה (למטה משמאל), אוויר ודלק נעים אל הצילינדר על-ידי הפרש הלחצים. מערכת הזרקת הדלק חישבה והזריקה את הכמות המדויקת של דלק כדי להגיע ליחס הרצוי. במהלך עליית הבוכנה בפעימת הדחיסה (למטה מימין), עליית לחץ מהירה מתחוללת בתוך הצילינדר, הגורמת לתערובת להתחמם. במהלך זמן זה, חשוב סיווג האוקטן של הדלק כדי למנוע התלקחות ספונטאנית שתגרום ל"צלצולים". תערובת חמה זו מוכנה כעת לפיצוץ לקראת ההגעה לנקודה מתה עליונה (נ.מ.ע.).
מעט לפני ההגעה לנ.מ.ע, מדליק המצת את התערובת בתא השריפה ויוצר חזית להבה שמתחילה להתפשט דרך התערובת. בפעימת העבודה (למטה משמאל) החמצן והמימן הפחמני מגיבים זה לזה, ויוצרים עוד חום ולחץ. באופן אידיאלי, שיא הלחץ נוצר כאשר הבוכנה 8-12 מעלות אחרי נ.מ.ע על מנת לייצר את מרב הלחץ על הבוכנה ומשם להעבירה לגל הארכובה. תוצרי הבעירה יכילו בעיקר אדי מים ודו-תחמוצת הפחמן אם התערובת ותזמון ההצתה היו מדויקים. אחרי שהתערובת נשרפה והבוכנה הגיעה לנקודה מתה תחתונה (נ.מ.ת.), פעימת הפליטה (למטה מימין) מתחילה ושסתום הפליטה נפתח תוך כדי עלית הבוכנה. אדי המים, דו-תחמוצת הפחמן, חנקן וכמות מסוימת של מזהמים נפלטים דרך מערכת הפליטה. בעירה בתנאים אידיאליים במנוע תקין לחלוטין ובתנאי תערובת מושלמים, המימן הפחמני יגיב עם החמצן אשר יהפכו לאדי מים ופחמן דו-חמצני, והחנקן יעבור דרך המנוע מבלי להיות מעורב בתהליך ולא יעבור שינוי. למעשה, רק מרכיבים שלא עושים כל נזק יחזרו אל האטמוספרה. למרות שהמנועים המודרניים יעילים הרבה יותר מהמנועים הקודמים, הם עדיין מייצרים בפועל מספר גזים מזיקים. גזי פליטה רעילים אבל אפילו המנועים המודרניים ביותר ובעלי הטכנולוגיה הכי מתקדמת, לא מושלמים, הם עדיין מייצרים כמות מסוימת של גזי פליטה מזיקים. ישנם מספר מצבים אשר מונעים בעירה מושלמת וגורמים לתגובות כימיות בלתי רצויות להתרחש. הדוגמאות הבאות מדגימות פליטות מזיקות ואת הגורמים להן. פליטת מימן פחמני HC מימן פחמני הוא, בפשטות, דלק בלתי שרוף. כאשר אין בעירה כלל, למשל במקרה של החטאת בעירה, כמויות גדולות של מימן פחמני נפלטות מהמנוע. כמות קטנה של מימן פחמני נוצרת במנוע הבנזין בגלל מבנהו. תהליך נורמאלי המכונה "כיבוי בקיר" (WALL QUENCHING) מתרחש כאשר חזית הלהבה החמה מגיעה אל קירות הצילינדר הקרים יחסית. תהליך הקירור הזה מכבה את הבעירה לפני שכל הדלק הספיק להישרף, ומותיר כמות קטנה של מימן פחמני הנפלט מהמנוע.
גורם נוסף לפליטת מימן פחמני מיוחסת למשקעים בתא השריפה. בגלל שמשקעים אלו הם נקבוביים, מימן פחמני נכנס לתוך הנקבוביות שלו במהלך הדחיסה. דלק זה אינו נשרף טוב במהלך הבעירה ומשתחרר בפליטה כאשר הוא לא שרוף לחלוטין. הסיבה השכיחה ביותר לעלייה בפליטת המימן הפחמני היא החטאת בעירה המתרחשת עקב בעיית הצתה, אספקת דלק או יניקת אוויר. בהתאם לחומרת החטאת הבעירה רמת הפליטה תעלה. לדוגמא החטאת בעירה כתוצאה ממצת (פלג) מקוצר תגרום לעלייה דרמטית בפליטת המימן הפחמני. מצד שני, החטאת בעירה כתוצאה מתערובת ענייה תגרום לעלייה קטנה ביותר ברמת הפליטה. כמות מוגדלת של מימן פחמני יכולה להיות מושפעת גם מטמפרטורת התערובת הנכנסת לתא השריפה. טמפרטורות נמוכות באופן מוגזם יגרמו לאמולסיה לא הומוגנית – ומכאן לבעירה חלקית. פליטת פחמן חד-חמצני CO פחמן חד חמצני (CO) הוא תוצר של בעירה לא מושלמת והוא בעקרון דלק שרוף למחצה. אם התערובת של האוויר/דלק חסרה חמצן במהלך הבערה, היא לא תישרף לחלוטין. כאשר הבעירה מתרחשת בחוסר חמצן, אין מספיק חמצן כדי להפוך את כל אטומי הפחמן לדו-תחמוצת הפחמן. כאשר אטומי הפחמן מתלכדים רק עם אטום חמצן אחד הם הופכים ל-CO.
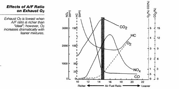
בעירה בחוסר חמצן מתרחשת כאשר יחס התערובת הוא עשיר. ישנם מספר מצבי עבודה במנוע אשר בהם היחס הוא כזה במכוון. לדוגמא בזמן התנעה וחימום, פעולה באקלים קר ולהעשרת כוח למשל בתאוצה. זה טבעי לכן, שבתנאים כאלה תהיה פליטת פחמן חד-חמצני מוגברת. סיבות נוספות לפליטה מוגברת של פחמן חד חמצני הם מזרקים דולפים, לחץ דלק גבוה, סגירת חוג לא תקינה, טעינת יתר ועוד. בגרף הבא מוצגת השפעת יחס התערובת על פליטה אופיינית של מימן פחמני (HC, או יותר בפשטות - כמה דלק לא נשרף) ופחמן חד חמצני CO. אפשר לראות שככל שהתערובת עשירה (יחס נמוך) כמובן שיותר דלק לא נשרף, וככל שהתערובת ענייה עד גבול מסויים, יורדת במעט כמות הדלק הלא שרוף. כמות הCO לעומת זאת עולה דרמטית כשהתערובת עשירה אפילו במעט.
כאשר המנוע בטמפרטורת עבודה ובסל"ד סרק או שיוט, מעט מאוד CO מיוצר בגלל שיש מספיק חמצן בבעירה להתרכב עם אטומי הפחמן. דבר זה יוצר רמות גבוהות של פליטת דו-תחמוצת הפחמן שהיא תוצר משני של בעירה יעילה. פליטת תחמוצות חנקן NO(X) לחץ גבוה וטמפרטורה גבוהה במהלך הבעירה עלולים לגרום לתגובה כימית שתיצור התחמצנות של אטומי החנקן. למרות שיש מספר צורות של פליטת מזהמים על בסיס תחמוצות חנקן, תחמוצות חנקן מסוג NO מהוות את הרוב, כ-98% מכל פליטת ה- NO(X) המיוצר במנוע.
באופן כללי, הכמות הגדולה ביותר של תחמוצות חנקן מיוצרת בתנאים של עומס בינוני עד גבוה, כאשר לחצי הבעירה והטמפרטורה שלה בשיאה. אם זאת, כמות קטנה של תחמוצות חנקן עלולה להיות מיוצרת גם בשיוט ובעומס נמוך. סיבות נפוצות לעודף תחמוצות חנקן הם תקלה בפעולת שסתום הEGR (שסתום בין סעפת היניקה לסעפת הפליטה, שנפתח בתנאים מסויימים ומאפשר מעבר של גזי פליטה לתוך הבוכנות ע"מ לשבש את תהליך הבערה ולהקטין את הטמפרטורה, וכך להקטין את הווצרות תחמוצות החנקן) תערובת לא תקינה, טמפרטורת אוויר יניקה גבוהה, מנוע חם מידי, קידום הצתה מוגזם ועוד. השפעות תערובת אוויר דלק על גזי פליטה כפי שכבר ראינו, רמות ה- HC וה- CO נמוכות ביחס תערובת אידיאלי או קרוב לזה מהצד העני. דבר זה מחזק את הצורך בשמירה על יחס תערובת מדויק. מאידך, פליטת ה- NO(X) לעומת זאת יכולה להיות נמוכה יותר בתערובת מעט עשירה. היחס ההפוך הזה מהווה בעיה כאשר מנסים לשלוט בסך של פליטת המזהמים מהרכב. יחס מורכב זה מהווה דוגמא מצוינת לבעייתיות של צמצום פליטת המזהמים ממנוע הבנזין.
ניתוח פליטת מזהמים באמצעות מכשירי 4 ו-5 גזיםבנוסף לגזי הפליטה הרעילים: CO, HC ו- NO(x), ישנם שני גזים נוספים שאמנם הם לא רעילים, אך באמצעות ניתוח שלהם נוכל לקבל תמונה מדויקת יותר ושלמה יותר על הבעירה במנוע הרכב. דו-תחמוצת הפחמן (CO2) פחמן דו-חמצני/דו-תחמוצת הפחמן או CO2 בקיצור, הוא תוצר הלוואי של תהליך הבעירה התקין. הוא נוצר כאשר פחמן מהדלק מתחמצן במלואו בזמן השריפה. ככלל אצבע, ככל שרמת ה - CO2 גבוהה יותר, הבעירה יעילה יותר. מכאן, שיחס אוויר/דלק לקוי, החטאת הצתה או בעיה מכאנית במנוע יגרמו לירידה ברמת ה - .CO2חשוב לזכור, בעירה "אידיאלית" יוצרת כמויות גדולות של CO2 ושל H2O (אדי מים).
חמצן (O2) הימצאות חמצן בבעירה מהווה אינדיקציה טובה לבעירה בתערובת ענייה, מכיוון שכמות החמצן עולה בזמן בעירה בתערובת ענייה. באופן כללי, חמצן O2 הוא ההפוך מהפחמן חד-חמצני CO. הווה אומר, חמצן O2 מעיד על תערובת ענייה בעוד פחמן חד-חמצני CO מעיד על תערובת עשירה. תערובת אוויר/דלק ענייה ובעיות של החטאת בעירה (MISFIRE) בדרך-כלל גורמות לערך חמצן O2 גבוה בפליטה מהמנוע.
גזים אחרים הנפלטים מהמנועישנם מספר גזים נוספים הנפלטים מהמנוע, המשפיעים על הבעירה ואינם נמדדים במכשירי בדיקה של מוסכים:
דו תחמוצת הגופרית (SO2 ) נוצרת לעיתים במהלך הבעירה ונובעת מכמות הגופרית הקטנה שמצויה בדלק. בתהליך ההמרה הקטליטית, לאחר בעירה בתנאים מסוימים, נוצרת התחמצנות נוספת שיוצרת SO3, אשר יוצר תגובה כימית עם המים ומתרכב אתם והתרכובת מכונה H2SO4 או חומצה גופרתית. לבסוף, כאשר נוצרת תגובה בין הגופרית והמימן, נוצר גז מימן-גופרתי. תהליך זה מייצר ריח חריף של ביצה סרוחה. חלקיקי פחמן C מופיעים בתור עשן שחור, בדרך כלל במנועים שנוסעים בתערובת עשירה. סיבות לפליטה מזהמים מוגברתאת מה שלמדנו אד עכשיו אפשר לסכם ככללי אצבע. פליטות מוגברות של גזים מסוג HC, CO, NO(x) , בדרך-כלל נגרמות בתנאים הבאים:
ישנם תופעות פחות ידועות שגורמות לתופעות הללו אשר עליהן נרחיב בסעיפים הבאים. כאשר מבצעים אבחון באמצעות מכשיר 4/5 גזים, אנו נתמקד במציאת הסיבה להמצאות הגזים המתוארים למעלה. לדוגמא, אם יש לנו ערך CO גבוה, יש צורך לבדוק את כל הגורמים שיכולים לגרום לעודף דלק או חוסר אוויר. הסעיפים הבאים יעזרו באיתור מדויק יותר של המערכות שיוצרות בעיית פליטה לפי סוג הגז. סיבות לפליטה מוגברת של חלקיקי פחמן-מימניכמו שצוין, חלקיקי פחמן-מימני בדרך-כלל נוצרים בעקבות החטאות בעירה. הרשימה הבאה מספקת את הגורמים האפשריים להיווצרות של פליטה מוגברת של חלקיקי פחמן-מימני. כמו בכל רשימה של פתרונות מהירים, ברשימה נכללות רוב הסיבות להיווצרות חלקיקי פחמן-מימני אך לא כולן. להלן הסיבות הנפוצות לפי מחלקות ברכב: בעיות במערכת ההצתה
בעיות מיחס תערובת עני
בעיות הנובעות מ EGR
מזרקים מוגבלים/קטנים מידי/מפויחים בקרת חוג סגור מכוילת בטעות למצב עני הזנת נתון שגוי למחשב חיווי לא נכון של חיישן עומס מנוע, חום מנוע, חיישן חמצן או מצב מצערת. דליפת גזי פליטה לאחר השסתום
תזמון הצתה לקוי
חדירת גזים לבית הארכובה "מנוע מנפח" טבעות בוכנה שחוקות או צילינדרים "שרוטים". קומפרסיה נמוכה משקעי פיח על שסתומי יניקה. סיבות לפליטה מוגברת של פחמן חד חמצני COעודף פחמן חד חמצני נוצר מכל סיבה שהופכת את יחס התערובת אוויר/דלק לעשיר מידי. הרשימה הבאה כוללת את הסיבות הנפוצות ליחס תערובת עשיר מידי.
הערה: יש לציין שעקב ירידה ביכולת ההמרה של הממיר הקטליטי, עלייה בפליטת CO מובילה לירידה בפליטת גז ה - NO(x) . קורה לעיתים די תכופות, שמתקנים תקלת CO ואז, עקב תקלה נוספת שקודם לא היה ניתן להבחין בה, נתקלים בעלייה בערך ה - NO(x) , בעיקר תחת מאמץ. סיבות לפליטה מוגברת של תחמוצות חנקן NO(x)עודף של גזים מסוג NO(x), ייגרם מכל דבר שיגרום לעלייה בטמפרטורת הבעירה. סיבות אופייניות לכך מובאות ברשימה הבאה.תקלות במערכת קירור
תערובת ענייה במיוחד ( אטם סעפת יניקה פרוץ, ציר מצערת שחוק, בקרת חוג סגור מכוילת בטעות עני מדי) פעולת חיישן חמצן לא תקינה (חיישן איטי, מתח גבוה מדי) פעולה לא מספקת או לא תקינה של מערכת EGR
פעולת קידום הצתה לא תקינה
משקעי פיח על שסתומי יניקה פליטת אדי דלקעד עתה עסקנו רק בפליטת מזהמים מצינור הפליטה של הרכב. למרות זאת, חשוב להזכיר כי פליטת חלקיקי פחמן מימני או אדי דלק, נובעים גם ממערכת אוורור נוספות ברכב כגון מערכת PCV ומערכת הקניסטר. למעשה, מחקרים מראים שכ- 20% מפליטת חלקיקי הפחמן המימני מכלי רכב מגיעים ממיכל הדלק והקרבוראטור (ברכבים ישנים). בגלל שהפליטה הזו מכילה חלקיקים אורגאניים שתורמים לתופעת הערפיח, חשוב לנטר את פעולת המערכות המונעות את היווצרותה לא פחות מהניטור של איכות הבעירה. רכבים מודרניים המצוידים בבקרת מזהמים משתמשים במכלי אחסון בהם הם מאחסנים את אדי הדלק ושורפים אותם תוך כדי פעולת המנוע. כאשר המערכת הזו עובדת כשורה, אדי דלק לא יכולים לחמוק מהרכב אלא אם פתח התדלוק פתוח. אבחון באמצעות מנתחי גזי פליטה השימוש במכשירי 4/5 גזים יכול להיות שימושי בפתרון בעיות הן של זיהום אויר והן של אפיוני מנוע. כיום, מנתחי גזים מסחריים מנתחים החל מגז 1 (CO), ועד 5 גזים – CO, CO2, HC, O2 ו - NOX. כל חמשת הגזים, ובייחוד ה-O2 וה- CO2, מהווים כלים מצוינים לאיתור ופתרון תקלות. השימוש במכשיר ניתוח גזים יאפשר לך לצמצם את מספר הסיבות האפשריות של תקלה ולמקד את האבחון באזור מסוים. בנוסף לכך, השימוש במכשיר יאפשר לך לבדוק את יעילות התיקון על-ידי השוואה של בדיקת הגזים לפני ואחרי התיקון. במהלך האבחון תמיד יש לזכור את משוואת הבעירה הכימית: דלק (מימן, פחמן, גופרית)+אוויר (חמצן, חנקן) = דו תחמוצת הפחמן + אדי מים + חמצן + פחמן חד-חמצני + חלקיקי מימן פחמני +תחמוצות חנקן + חומצות גופריתיות. בכל מהלך אבחון יש לשאול את השאלות הבאות:
השפעות של משאבת אוויר משנית ברכבים מודרניים יותר, קיימת מערכת אספקת אוויר משנית, שתפקידה לספק חמצן לא שרוף לממיר הקטליטי, על-מנת לשפר את תהליך ההמרה. מערכת זו מכניסה אוויר מן האטמוספרה בין המנוע לממיר הקטליטי. מערכת אוויר משנית מקטינה את תחמוצות הפחמן על ידי חמצון נוסף.
ניתוח ערכי פליטות מזהמים
גורם נוסף בניתוח פליטת תחמוצות חנקן הם שתי מערכות המשנה שנבנו במטרה לשלוט על פליטת תחמוצות חנקן, מערכת ה-EGR ולוכד ה- NOX המשולב בממיר. פליטת תחמוצות חנקן תעלה בעת כשל במערכת ה- EGR, או כשיעילות מערכות ההמרה תרד. יעילות מפחית ה- NOX, קשורה לפעולה התקינה של החוג הסגור לשליטה על יחס תערובת. היעילות יורדת כאשר יש יותר מידי חמצן.
בדיקות לפני ואחרי ממירכאשר משתמשים במכשירי אבחון לגזי הפליטה, חשוב לזכור שפעולת הבעירה מתרחשת פעמיים לפני הגעתה לצינור הפליטה. פעם ראשונה התערובת בוערת בתא השריפה. בעירה זו מגדירה את הרכב הגזים שמגיעים לממיר, אשר משפיעים על יעילות ההמרה באופן דרמטי. כאשר הגזים מגיעים לממיר התלת-דרכי, שני תהליכים כימיים מתרחשים.
הפחתה קטליטיתבתחילה תחמוצות החנקן מתפרקות מפרודות החמצן שלהן. תהליך זה מתרחש רק אם כמויות מספיקות של חד תחמוצת הפחמן זמינות בשביל שהחמצן יתרכב איתן. התגובה הכימית גורמת להפחתה של תחמוצות חנקן וחמצון חד תחמוצת הפחמן היוצרת דו תחמוצת הפחמן. חמצון קטליטיבהמשך התהליך, חלקיקי פחמן-מימני וחד תחמוצת הפחמן ממשיכים לבעור. דבר זה מתרחש רק אם כמות מספת של חמצן זמינה להתרכב איתם. תגובה כימית זו יוצרת חמצון של מימן ופחמן ויצירת אדי מים ודו-תחמוצת הפחמן.דוגמאות לניתוח מטעה של גזים אחרי ממירכאשר פותרים בעיית זיהום אוויר, תשומת הלב שלנו מופנית כלפי הגזים הנפלטים מצינור הפליטה. במילים אחרות, לא חשוב לנו לקבוע האם הבעירה היעילה התרחשה בזמן הבעירה במנוע או בממיר. כאשר פותרים בעיה של ביצועי מנוע, הממיר הקטליטי יכול להסתיר בעיה של פליטת מזהמים או רמזים חשובים שיכולים לסייע לנו באיתור מדויק של התקלה. בדוגמאות הבאות נדגים מצבים שבהם הקריאה אחרי הממיר יכולה להיות מטעה. דוגמא 1 החטאת בערה שולית תחת עומס גורמת לרכב מעין "רתיעה". בדיקת הגזים אמורה להראות עלייה של HC ו- O2 וירידה ב- CO2 , אולם ברגע שהגזים מגיעים לממיר הקטליטי, בייחוד לממיר יעיל, תהליך החמצון ממשיך. עודפי ה – HC מתחמצנים, מה שגורם לירידה ב – HC וב- O2 , ולעלייה ב - CO2 . בצינור הפליטה הנתונים ייראו תקינים לגמרי. בדוגמא זו, אם היו שמים לב לנתוני ה- NOX, היו רואים עלייה בגלל הכמות הקטנה של חד-תחמוצת הפחמן והעלייה ברמות החמצן. דבר זה יכול להראות רק במכשיר 5 גזים.
דוגמא 2 חור קטן באגזוז מעל לחיישן החמצן גורם לחיווי (לא אמיתי) של תערובת ענייה למחשב המנוע. כתוצאה מכך, המחשב מזרים כמויות דלק עולות כדי להיכנס לטווח התקין. תלונת הלקוח היא עלייה של 20% בצריכת הדלק. דוגמא 3 חסימה בצינור החזרה של הדלק גורמת לעליית לחץ דלק הגורמת לתערובת עשירה מאוד ועלייה של 20% בצריכת הדלק. למרות שפליטת חד תחמוצת הפחמן עולה, הממיר הקטליטי מסוגל לחמצן את רובו לדו תחמוצת הפחמן. התוצאה – ערכי פליטה תקינים, למעט חמצן, שהוא מאוד נמוך משתי סיבות. האחת, עלייה ב- CO גורמת לירידה בחמצן ביחס ישר. השנייה, מעט החמצן שנשאר נצרך כמעט לחלוטין בתהליך ההמרה. בהתבסס על דוגמא זו, ניתן לראות כי החמצן הוא האינדיקטור הטוב ביותר לגבי יחס תערובת דלק/אויר ולא ה-CO כאשר מודדים רכבים המצוידים בממיר.
כללים לניתוח גזי פליטה
על מנת לוודא כי ערכי המדידה לא מדוללים באגזוז או שהמכשיר לא מכויל, צרף את קריאת ה- CO ואת קריאת ה- CO2. מערכת לא מדוללת תמיד תקבל ערך הגדול מ6%. זכור, מערכת האוויר המשנית עלולה לדלל את התערובת בזמן הבדיקה אם היא לא מנותקת. למעשה, במנועים בעלי מערכת כזו, יהיו ריכוזי חמצן גבוהים בפליטה עקב כמות החמצן המוזרמת לאגזוז אחרי הבעירה. * הגרפים והאיורים לקוחים מתוך חוברות טכניות של חברת Bosch.
|




















תפריט ראשי
ניווט לפי מותגי 4X4
פורום 4X4 הודעות אחרונות

